欧意交易所官网-欧易交易所-okex欧意交易所
  • 首页
  • 欧意交易所官网
  • 欧易交易所
  • okex欧意交易所
首页 ›包含"外汇局 第2页"标签的文章
国家外汇局:有信心、有能力继续维护外汇市场稳健运行

国家外汇局:有信心、有能力继续维护外汇市场稳健运行

国家外汇管理局副局长、新闻发言人李斌7月22日在国新办新闻发布会上表示,我国外汇市场韧性不断提升,应对外部冲击能力增强。从宏观层面看,人民币汇率市场化形成机制不...

欧意交易所官网 2025-10-10 0 评论 16 阅读
国家外汇局:9月末我国外汇储备规模为33387亿美元

国家外汇局:9月末我国外汇储备规模为33387亿美元

国家外汇管理局10月7日发布的数据显示,截至2025年9月末,我国外汇储备规模为33387亿美元,较8月末上升165亿美元,升幅为0.5%。 国家外汇管理局表示...

欧意交易所官网 2025-10-10 0 评论 13 阅读
国家外汇局李斌:上半年外汇市场表现好于预期

国家外汇局李斌:上半年外汇市场表现好于预期

7月22日,国家外汇管理局副局长、新闻发言人李斌在国新办新闻发布会上表示,2025年以来,外汇市场运行平稳,表现出较强的韧性与活力,表现好于市场预期。 上证报...

欧意交易所官网 2025-10-10 0 评论 17 阅读
深化跨境投融资外汇管理改革 外汇局发布一揽子便利化政策

深化跨境投融资外汇管理改革 外汇局发布一揽子便利化政策

央广网北京9月16日消息(记者 冯方)为深入贯彻党的二十届三中全会精神,落实党中央、国务院决策部署,扩大高水平开放,服务经济高质量发展,日前,国家外汇管理局发布...

欧易交易所 2025-10-10 0 评论 21 阅读
国家外汇局召开下半年外汇管理工作交流会 适时开展逆周期调节 维护外汇市场稳定

国家外汇局召开下半年外汇管理工作交流会 适时开展逆周期调节 维护外汇市场稳定

8月1日,国家外汇管理局以视频形式召开2025年下半年外汇管理工作交流会。会议总结上半年外汇管理工作,分析当前金融外汇形势,部署下半年工作。国家外汇管理局党组书...

欧易交易所 2025-10-10 0 评论 12 阅读
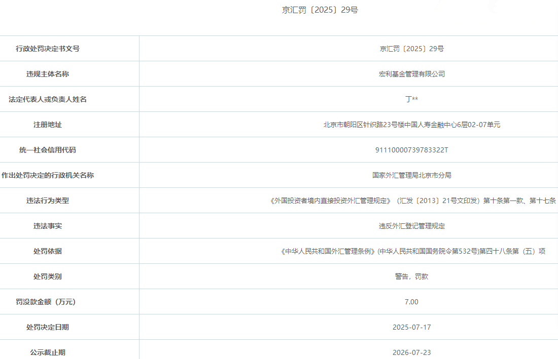
宏利基金因违反外汇登记管理规定 被外汇局警告并罚款

宏利基金因违反外汇登记管理规定 被外汇局警告并罚款

中国经济网北京7月25日讯 23日,国家外汇管理局北京市分局发布京汇罚〔2025〕29号行政处罚。处罚信息显示,宏利基金管理有限公司因存在违反外汇登记管理规定的...

欧易交易所 2025-10-10 0 评论 23 阅读
国家外汇局:上半年查处外汇违法违规案件超过400起

国家外汇局:上半年查处外汇违法违规案件超过400起

中新网7月22日电 国新办7月22日下午3时举行新闻发布会,介绍2025年上半年外汇收支数据情况。 会上,国家外汇管理局副局长、新闻发言人李斌表示,今年以来,外...

欧易交易所 2025-10-10 0 评论 17 阅读
外汇局:8月末我国外汇储备规模为33222亿美元

外汇局:8月末我国外汇储备规模为33222亿美元

央广网北京9月7日消息(记者 冯方)近日,国家外汇局公布2025年8月末外汇储备规模数据。 国家外汇局统计数据显示,截至2025年8月末,我国外汇储备规模为33...

欧意交易所官网 2025-10-10 0 评论 12 阅读
加强银行间外汇市场监管,央行外汇局公开征求意见

加强银行间外汇市场监管,央行外汇局公开征求意见

中国人民银行8月22日消息,为加强银行间外汇市场监管,促进外汇市场服务实体经济,中国人民银行和国家外汇管理局起草了《银行间外汇市场管理规定(征求意见稿)》,现向...

欧易交易所 2025-10-10 0 评论 15 阅读
外汇局:7月末外汇储备32922亿美元,降幅0.76%

外汇局:7月末外汇储备32922亿美元,降幅0.76%

北京商报讯(记者 刘四红)8月7日,国家外汇管理局统计数据显示,截至2025年7月末,我国外汇储备规模为32922亿美元,较6月末下降252亿美元,降幅为0.7...

okex欧意交易所 2025-10-10 0 评论 10 阅读
首页 ‹ 1 2 3 › 尾页

随机文章

  • 中国油画家协会副主席包军:“草原意象画派”领军者,以笔绘草原灵魂
  • 宋佳+佟丽娅都让人提不起兴趣?复刻《好东西》的《轻于鸿毛》,为啥没学成?
  • 长春东北证券(长春东北证券地址电话)
  • 贪腐31亿!巨贪李传良案一审宣判
  • 刘铭诚:9.23黄金波段空单突袭月末暴跌!原油波段多单正当时!
  • 这家地产央企退市!公司也曾喊出要“活下去”
  • 中国银河证券网(中国银河证券网址)
  • 上海证券融资(上海证券交易所规定融资融券业务最长时限为几个月)

热门文章

  • 1【明辉说油】1-5月,中国累计原油进口2.3亿吨
  • 2俄军火力全开报复太狠!泽连斯基突喊停火,乌克兰“举白旗”了?
  • 3ETF纷纷“改名换姓”,什么原因?
  • 4湖北一嫌犯为脱罪花840万,当地公安局长等人被买通,法院判了
  • 5EIA上调美国原油产量预测
  • 6邓正红软实力油价分析模型对2026年原油市场的预测与情景分析
  • 7中国石油:2025 年原油进口量或续降
  • 8我国是世界最大的原油进口国,原油价格下跌,我国企业却很害怕?
欧意交易所官网-欧易交易所-okex欧意交易所
© 2026 Z-BlogPHP 欧意交易所官网-欧易交易所-okex欧意交易所   沪ICP备00000000号